在苹果宣布放弃造车后,每年的保留项目就成了"折叠iPhone",年年都有传闻出现,就是真机长啥样始终连个影儿都没见着,堪称现代版《 狼来了 》。
眼瞅着折叠屏手机热度越来越高,三星、华为、小米都有产品在市场占据一席之地了,慢工出细活的苹果也坐不住了,终于被曝要定档了。
近日,著名的显示器分析师罗斯·杨(Ross Young)暗示,苹果的首款可折叠设备可能会采用书本式的外形,预计2026年推出。
也就是说首款折叠iPhone已经脱离了“PPT”的概念阶段,正式进入研发了,要发布成了迟早的事。
其实客观来看,苹果想要打造一款折叠屏产品并不难,至于为啥拖这么久,根据之前供应链多次爆料,苹果对于折痕问题非常在意,因此不断想办法研发更先进的铰链以及更耐用的柔性屏。
说白了,就是对折痕有点“强迫症”,而从最新曝光的苹果折叠屏铰链设计专利来看,“0折痕”的方式还真让他们给找出来了。
那么憋了这么多年,苹果的折叠屏究竟会长啥样?
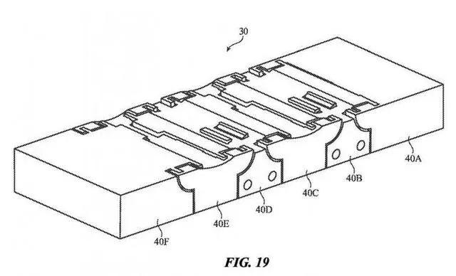
首先,咱们先来聊聊这个刚曝光的新专利,不得不说苹果脑洞还挺大的。
根据专利描述显示,为了提升耐用性,苹果改进了之前的铰链设计,采用更复杂的传动装置作为铰链,也就是巧妙地使用指状物和月牙槽设计。
从图片看,这是一种由相互连接的指状物和摩擦离合器组成的铰链结构,其分布了四个很小的齿轮,并且分布了6个静态部件,形成月牙形槽。
这样一来能让每个环节实现相对旋转,并将旋转轴移至环节外部,这种设计大大增强了灵活性。
同时链节上设有新月形槽,用于容纳销钉,当设备折叠时,销钉沿着新月形槽滑动,确保相邻链节围绕位于铰链外部且在柔性显示面板内的旋转轴相对旋转。
千万不要小看铰链里的那些小齿轮,它们相互配合后,就组成了一个小巧却非常能干的离合器。这个离合器的职责就是提供恰到好处的摩擦力,让铰链能够稳稳地把设备固定在你想要它保持的角度。
简而言之,就是用这些精巧的小齿轮来搞定铰链的折叠动作。当折叠屏iPhone变换形态时,这些齿轮能减轻铰链对屏幕的压力,这样不仅能减少屏幕上的折痕,还能让折叠屏用得更久。
为了让折痕彻底消失,苹果还上了一层“双保险”,从另一份专利来看,苹果还设想在设备折叠部分的玻璃内侧进行切割,再填充聚合物材料,从而保持屏幕表面光滑,彻底消除折叠屏手机中常见的“折痕”。
可以简单理解成,往屏幕里填充了一层记忆海绵一样的 “ 自愈 ” 材料,可以一定程度的修复折痕。
在最终的呈现形态上,产品可能采用“书本式”设计,像打开一本高端笔记本那样优雅——至于什么中间折痕?不存在的。
毫不夸张地说,这几项专利,让苹果折叠屏iPhone实现了技术重大突破。
众所周知,折叠屏一直没被大面积普及的原因之一就在于目前市面上众多产品因为铰链带来的折痕,会严重影响屏幕的平整。
特别是使用时间过长,屏幕折叠次数多了以后,这些折痕会逐渐对屏幕的耐用性造成影响,最终缩短屏幕的使用寿命。
而苹果之所以迟迟没有发布折叠屏iPhone,就是在攻克折痕问题,毕竟果粉的忠诚度这么高,其中有一个简单的原因,就是苹果产品使用寿命足够长。
对于折叠屏这样的产品,有“完美主义倾向”的苹果当然也不想“自砸招牌”。
如今这项折叠屏iPhone铰链专利曝光后,也让大家放了个心。
虽说苹果对完美产品的追求是可敬的,然而只怕供应链无法达到其要求,因此众多“果粉”只能苦苦等待了...
<span />
苹果的“折叠”玩法大家已经了解的差不多了,那么问题来了,首款可折叠产品还真不一定就是iPhone。据了解,上述的铰链专利除了可以用在iPhone上,还能用在iPad、Mac,甚至Apple Watch上。
早前有传言说苹果可能会先推出折叠屏iPad来试水。毕竟,比起折叠手机,折叠iPad的技术难度稍微低一点,而且实用性更高,像个大屏的“折叠书”,画图、看剧、办公全能搞定,顺便还能秀一波科技实力。
而Wccftech报道也证实了这一点,称苹果原计划在2025年带来可折叠iPad,不过很可能出现了延期,将推迟到2026年,因此推测,苹果可能还是对可折叠屏幕的技术仍然不太满意,正等待铰链机制的完善。
对此有网友也表示了支持,认为平板做成折叠才是最优解。
话说这个选择更符合目前的市场选择,如果先做可折叠iPhone的话,目前预计首款产品大概率会是个类似于Galaxy Z Fold/Flip系列的小折叠产品。
毕竟小折叠品类更为火爆,也更适合拿来试水。早前外媒也曾曝光过所谓折叠iPhone的3D渲染图,内外两块屏幕,确实是一款横向内折的小折叠产品。
然而客观地说,目前的小折叠屏手机依旧存在不少使用上的痛点。
首先,散热问题无疑是小折叠屏手机的头号难题。由于其紧凑的物理结构,小折叠屏手机在散热方面的表现通常不如大尺寸的折叠屏手机或者传统的直板手机。即便搭载了高端旗舰处理器,实际能够发挥出的性能可能也只有大约70%,有较为明显的性能浪费。
最后还有个价格问题也很头疼,如果是大屏幕手机,其实还是很好定价的,只要比iPhone16 Pro Max再贵几千块钱就行了。
但如果是小折叠屏手机,价格反而有点尴尬。如果定价1万以上,那对iPhone 16 Pro系列就不太公平,而太便宜也不太现实,更何况友商华为,已经将小折叠屏手机的价格做到5000多,性价比更高,卷价格也不是条明路。
无论是定价还是品控,只要稍微不留神,可能就要翻车了,所以说iPhone折叠屏手机,真的是很难搞。
<span />
从大家的态度来看,对苹果折叠屏产品普遍还是挺期待的,假如苹果真的出了折叠屏,而且能够像现在爆料的这样解决折痕、提高寿命,并且拥有更好的副屏软件适配的话,或许真的会像当年 iPhone X一样轰动科技圈。
别的不说,苹果至少应该是能把研发 Vision Pro 亏的钱都给赚回来...
还有网友建议走高端化市场,去做大折叠产品。
还有网友认为,折叠屏手机始终无法撼动直板手机的地位,最终也只会成为小众产品。
当然了,还有网友推测,苹果最终或许就不会推出折叠屏产品,毕竟Vision Pro就没大卖...
不管怎样,折叠手机的竞赛已经开始,它们为长久以来鲜有新意的手机市场注入了新的活力。
这场竞争不仅仅是技术和创新的对决,更是对未来智能手机的一次大胆探索,不知道苹果还能像当初一样再次惊艳世界吗?
内容来源于联合早报中文网网友投稿 |